|
Вариант с допантистуком / артикул FA 0700-Е(A-K) / 17900 р.
|
.jpg)
|
С этим товаром покупают
Колпачок на шар фаркопа БИЗОН
Электропроводка
Покупая фаркоп, не забудьте про электрику для подключения бортовых огней прицепа к автомобилю.
Фаркопы БИЗОН не комплектуются электрикой на заводе
Поэтому нужно докупить
Универсальная электрика для фаркопа BIZON 7 PIN
Либо как вариант, можно докупить Универсальную электрику с блоком согласования - если компьютер оснащён чек контролем, то есть проверкой электросистемы и в том числе
Советуем
Электрика для фаркопа, универсальная, с блоком согласования QUASAR WH1-PRO-G7 (Смарт - Коннект)
Так же на сайте представлена оригинальная электрика
Кторорую вы можете подобрать в соответствующем разделе
Если вы решили установить фаркоп своими силами ... , то процесс установки
фаркопа БИЗОН на Ваш автомобиль облегчит инструкция по монтажу.
(Представленная в ФАЙЛЫ И ДОКУМЕНТЫ)
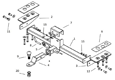
Заводская комплектация фаркопа БИЗОН
*
Антистук BIZON
* Балка фаркопа
* Сцепной крюк с шаром 50 мм. (американский квадрат 50х50 мм)
* Крепёжные элементы (болты, гайки, шайбы, гроверы.)
* Площадка - кронштэйн (для установки электророзетки)
* Схема (последовательности монтажа)
* Пакет упаковочный (для мелких элементов)
* Вакуумная упаковка (плотный полиэтилен)
Колпачок на шар приобретается отдельно!
При изготовлении
фаркопов БИЗОН, используется пескоструйная обработка металла, как подготовка для нанесения цинкосодержащего грунта + полимерное покрытие, что делает
фаркопы БИЗОН конкурентно способными на рынке данной продукции по воздействию агрессивной среды на изделие, которая приводит к коррозии металла.
При окрашивании изделий, используется только самая качественная порошковая краска, таких производителей как AкzоNоbel, ЕUROPOLVERI (Italy) и др.